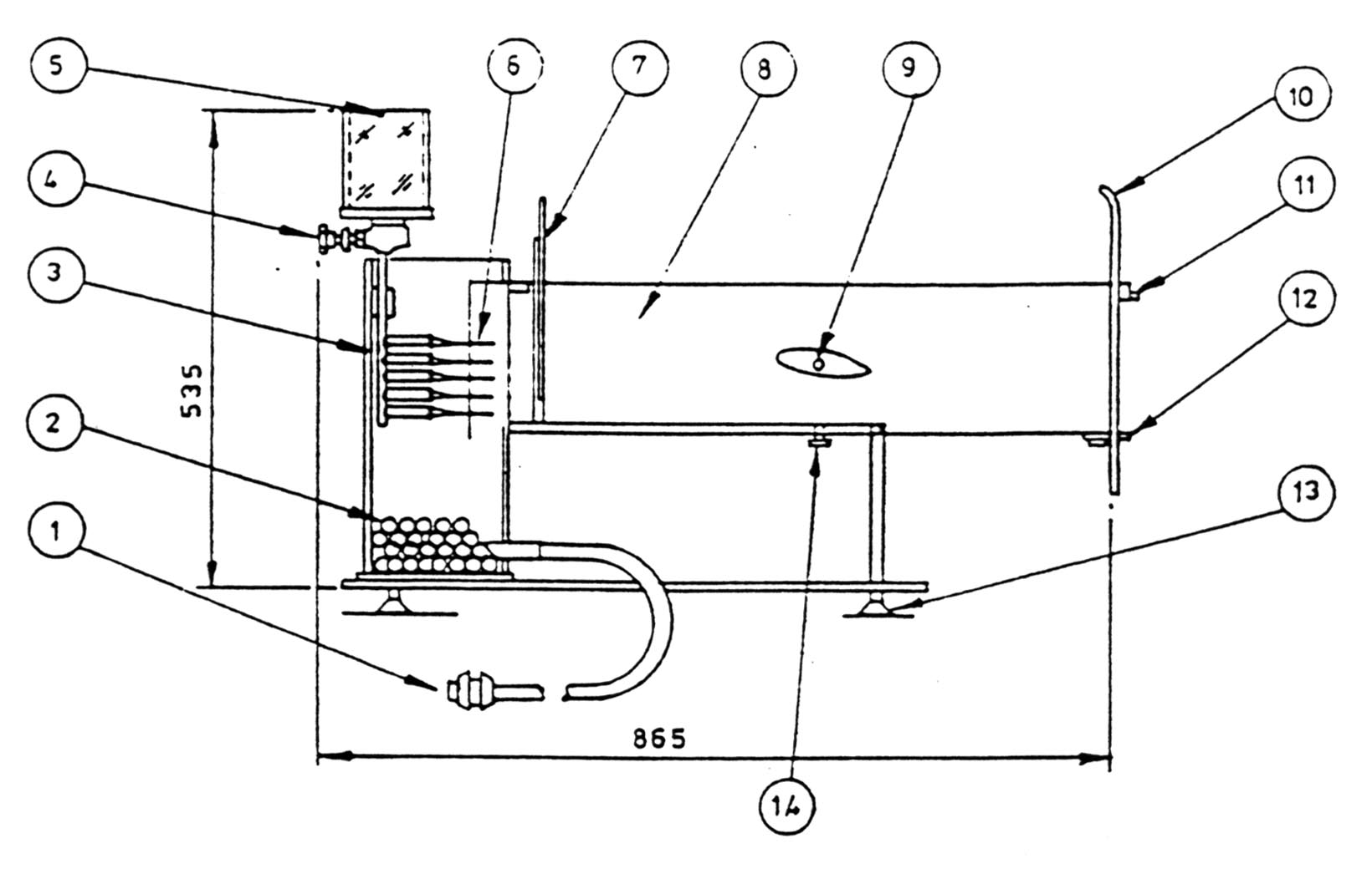
Flow Visulisation Apparatus(°¡½ÃÈ­ÀåÄ¡) Model : DY-19N

 

 Dye Injection Needles

 8 ea 

 Dye Reservoir Capacity

 0.45 Liters 

 Flow Channel Size

 15W x 150H x 620L mm 

 Material

 Acryl and PVC 

 Model

 - Small Cylinder
 - Large Cylinder
 - Crested Weir
 - Aerofoil